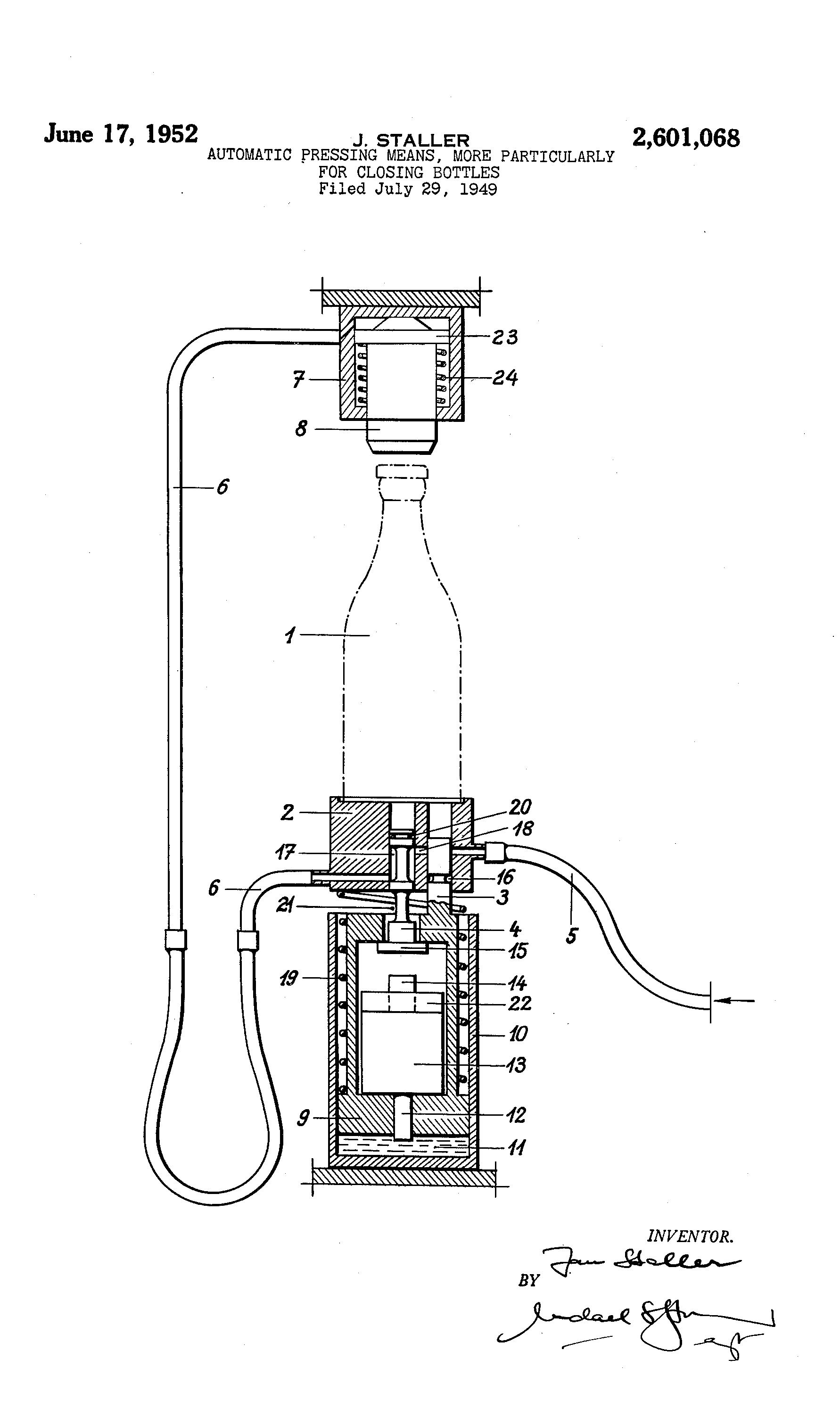
Tento světově známý uzávěr pivních lahví vynalezl významný nájemce pivovaru Jan Nepomuk Antonín Staller (29.4. 1900 – 1958). V USA byl patentován dne 17. července 1952 pod číslem US 2601068 A s datem podání 29. červenece 1949. Uzávěr se skládal z hliníkového kroužku, chránícího okraje lahve. Pod ním byla vsunuta těsnící gumička a láhev se uzavírala kulatým hliníkovým plíškem. Uzávěr byl patentován pod názvem „JASTA“ (zkratka Jan Staller). Jeho výhody byly v tom, že se ušetřil ocelový plech, drahý korek a rozbilo se mnohem méně lahví. Stallerova plynotěsná uzávěrka „JASTA“ byla užívána v mnoha zemích na celém světě a začala se rovněž i u nás vyrábět a používat. Po emigraci J. Stallera byl opět prosazen plechový korunkový uzávěr s korkovým těsněním, jak uzávěr pivních lahví známe dnes. Až v posledních letech se opět začal kroužkový uzávěr znovu používat, především u speciálních druhů piva.


